诚邦软件(CBT软件工厂)

 

2025版样本库系统9月功能更新

更新内容如下

(注意:更新只限2025版样本库系统,已购买2025样本库系统的客户,如需同步更新9月功能可联系我们诚邦对接项目经理获取免费更新)

物料管理模块:

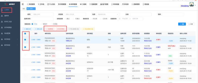
1、新增一二级库内部物料条码自定义批量生成及打印功能;

1.png



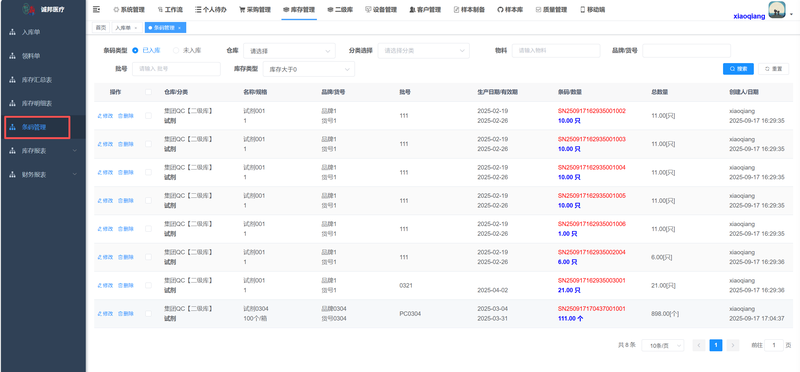
2、新增已生成物料条码管理功能

2.png


3、二级库物料扫码出入库功能


5.png


客户管理模块:

1、新增供者筛选自定义表单模版

深圳总部软件研发中心:宝安区金海路12号汇潮科技大厦602
成都软件开发分部:成都市人南立交商鼎国际a座1701
香港办事处地址:九龙荔枝角长顺街20号时丰中心202
北京软件开发分部:北京市大兴区北兴路2号星光影视园12号楼401
website qrcode

扫码体验互动式公司介绍